Skip to content
线性输出多电源可选IP65防护手动操作多信号兼容广泛适配DN15-DN100阀门

斯派莎克 Spirax Sarco AEL5系列电动执行器(用于DN15至DN100控制阀)

斯派莎克 Spirax Sarco AEL5系列电动执行器为可反转式线性输出执行器,适用于DN15至DN100的2-通阀(SPIRA-TROL)和3-通阀(QL33、QL43、QL63、QL73)。提供230Vac、115Vac、24Vac、24Vdc四种电源型号,支持VMD信号及可选4-20mA/2-10Vdc控制信号,封装等级IP65,环境适应温度-20至60℃,具备手动操作功能,广泛应用于各类阀门控制场景。

产品概述

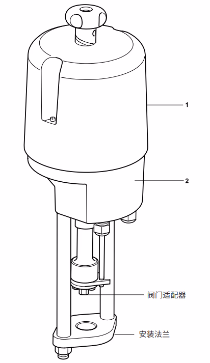
斯派莎克 Spirax Sarco AEL5系列电动执行器是可反转式执行器,具有线性输出特性,专为DN15至DN100规格的控制阀设计。该系列执行器兼容性强,可通过配套的阀门适配器和安装法兰,适配SPIRA-TROL系列2-通阀及QL33、QL43、QL63、QL73系列3-通阀,满足不同工况下的阀门控制需求。

执行器提供四种电源输入型号,涵盖交流230Vac、115Vac、24Vac及直流24Vdc,标准型号接收VMD(阀电机驱动)信号,如需精准控制,可额外安装 AEL5961 定位板 以接收4-20mA或2-10Vdc控制信号(注意24VDC型号不可加装定位板)。可选配1kΩ反馈电阻的电位计,可与定位板配套使用或作为VMD输入信号的反馈,同时还提供辅助限位开关、防冷凝加热器等配件供选择(详细配件信息参见TI-P358-28)。

材质明细

部件推力范围材质
外壳1-8 KN聚质酸脂
外壳14-25 KN压铸铝
阀门适配器-对应适配型号专用材质(详见安装适配部分)
安装法兰-对应适配型号专用材质(详见安装适配部分)

技术参数

参数项详情
电源230Vac、115Vac、24Vac、24Vdc
电源频率连续工作(50/60 Hz,功耗按此区分)
封装等级IP65(安装于室内外,应有足够的保护)
环境限制-20~+60℃(如装定位板则为-20~+50℃)
电机类型同步电机(1-14 KN)、导步电容反转电机(25KN)或有刷直流电机(直流电源型号)
手动操作手轮
接线口1-14 KN:2×M20×1.5;25 KN:3×M20×1.5
认证标准符合EN50081-1、EN50082-2(EMC)、EN61010-1/A2(安全)、92/31/EEC修正案89/336/EEC、93/68EEC(LVD)修正案93/68/EEC(EMC)和72/73/EEC标准

安装适配选择

安装法兰选择

阀门类型阀门尺寸AEL51_/AEL52_/AEL53_/AEL54_/AEL55_ 执行器AEL56_ 执行器
KE、KEA、LE、LEA、QLDN15 - DN50EL5970-
LE、LEADN65 - DN100EL5971-
KE、KEA、QLDN65 - DN100EL5971EL5972
JE、JEADN15 - DN100EL5971J-
JE、JEADN65 - DN100EL5972JEL5972

阀门适配器选择

阀门类型阀门尺寸螺纹规格AEL51_AEL52_AEL53_AEL54_AEL55_AEL56_
KE、KEA、LE、LEA、QLDN15 - DN50M8 螺纹AEL6911标准自带AEL6911标准自带AEL6911标准自带AEL6911标准自带AEL6911标准自带-
KE、KEA、LE、LEA、QLDN65 - DN100M12 螺纹集成集成集成集成集成EL5945
JE、JEADN15 - DN50M8 螺纹AEL6911JAEL6911JAEL6911JAEL6911JAEL6911J-
JE、JEADN65 - DN100M12 螺纹EL6912JEL6912JEL6912JEL6912JEL6912JEL5945

最大压差参数

KE、LE、KEA 和 LEA二通阀(Class IV关闭)

PTFE 或石墨阀杆密封

斯派莎克 Spirax Sarco AEL5系列电动执行器 - 结构图

阀门尺寸(DN)1520253240506580100
Kv值4.06.31016253663100160
行程20 mm20 mm20 mm20 mm20 mm20 mm30 mm30 mm30 mm

波纹管密封(PTFE 或石墨阀杆密封)

执行器型号电压PTFE密封(DN15)石墨密封(DN15)PTFE密封(DN20)石墨密封(DN20)
AEL52211JX2304.82.34.82.3
AEL52212GX1154.82.34.82.3
AEL52213FX244.82.34.82.3
AEL53211JX23040404040
AEL53212GX11540404040
AEL53213FX2440404040
AEL54211JX23040404034.9
AEL54212GX11540404034.9
AEL54213FX2440404034.9
AEL55311JX23040404037.6
AEL55312GX11540404037.6
AEL55313FX2440404037.6
AEL56411JX23040404040
AEL56412GX11540404040
AEL56413FX2440404040

KE、LE、KEA 和 LEA二通阀(Class VI关闭,仅PTFE(G)阀座密封)

PTFE 或石墨阀杆密封

阀门尺寸(DN)1520253240506580100
Kv值4.06.31016253663100160
行程20 mm20 mm20 mm20 mm20 mm20 mm30 mm30 mm30 mm

(各执行器型号对应最大压差详见产品原始资料完整表格,单位:bar)

JE和JEA二通阀(Class IV关闭)

PTFE 或石墨阀杆密封

阀门尺寸(DN)1520253240506580100
Kv值4.06.31016253663100160
行程20 mm20 mm20 mm20 mm20 mm20 mm30 mm30 mm30 mm

(各执行器型号对应最大压差详见产品原始资料完整表格,单位:bar)

JE和JEA二通阀(Class VI关闭)

PTFE 或石墨阀杆密封

阀门尺寸(DN)1520253240506580100
Kv值4.06.31016253663100160
行程20 mm20 mm20 mm20 mm20 mm20 mm30 mm30 mm30 mm

(各执行器型号对应最大压差详见产品原始资料完整表格,单位:bar)

QL三通阀(仅用于调节控制)

PTFE 或石墨阀杆密封

阀门尺寸(DN)1520253240506580100
Kv值4.06.31016253663100160
行程20 mm20 mm20 mm20 mm20 mm20 mm30 mm30 mm30 mm

(各执行器型号对应最大压差详见产品原始资料完整表格,单位:bar)

尺寸和重量(近似值)

斯派莎克 Spirax Sarco AEL5系列电动执行器 - 尺寸图

执行器系列A(mm)B(mm)C(mm)重量(kg)
AEL51_4601771384.5
AEL52_4601771384.8
AEL53_4601771385.2
AEL54_5061771507.0
AEL55_56922523110.0
AEL56_80722728020.0

选型指南

选型说明

选型步骤

  1. 确定控制阀型号、尺寸(DN)、Kv值、PN等级及最大压差需求。
  2. 选择适配的电源电压(230Vac、115Vac、24Vac、24Vdc)。
  3. 确认控制信号类型(标准VMD信号或4-20mA/2-10Vdc信号,后者需订购定位板,24VDC型号除外)。
  4. 根据阀门类型和尺寸,选择对应的安装法兰和阀门适配器。
  5. 如需反馈功能,选择带电位计的型号。
  6. 结合工况需求,确定是否需要辅助限位开关、防冷凝加热器等配件。

选型实例

选型要素实例1实例2
控制阀DN20 KE43 PTSUSS.2 Kv6.3 PN40DN65 KE43 PTSUSS.2 Kv63 PN40
最大压差20 bar20 bar
电源230Vac230Vac
控制信号4-20mA4-20mA
所选执行器AEL51211JXAAEL54211JXA
定位板AEL5961AEL5961
阀适配器AEL6911(标准自带)
安装法兰EL5970EL5971

注意事项

注意

  • 24VDC型号的执行器不能加装定位板。
  • 安装执行器时必须配套相应的安装法兰和阀门适配器,不可混用。
  • 如需可调速度的执行器,需单独联系斯派莎克确认。
  • 定位板功耗需根据实际型号和工况确认,具体参数可咨询厂家。
  • 执行器安装于室外时,需确保有足够的保护措施,以保证IP65封装等级的防护效果。

订购说明

订购须知

  • 产品型号需明确电源电压、控制信号类型、是否带电位计及所需配件。
  • 安装法兰和阀门适配器需根据阀门类型和尺寸单独选择订购(部分型号标准自带除外)。
  • 辅助限位开关、防冷凝加热器等配件需单独注明订购。
  • 对于0/2-10V、4-20mA控制的阀门,必须选择订购对应的 AEL5961 定位板

相关产品

浏览更多同类产品