Skip to content
All Stainless SteelHorizontal InstallationSide Inlet/Side OutletContinuous Air VentingFlexible InstallationLong Service Life

Armstrong 1810/1811/1822 1800 Series Inverted Bucket Steam Traps

Armstrong 1800 Series Inverted Bucket Steam Traps, including models 1810, 1811, and 1822, feature all stainless steel construction with horizontal installation and side inlet/side outlet design. Ideal for tracer lines, drip legs, heating and process applications, offering long service life, high reliability, excellent dirt handling, continuous air venting, and flexible installation. Maximum differential pressure 4.5MPa, maximum capacity 817kg/h, available with threaded, socket weld, and flanged connections.

Armstrong 1810/1811/1822 1800 Series Inverted Bucket Steam Traps

Product Overview

Armstrong 1810/1811/1822 Inverted Bucket Steam Traps are all stainless steel products featuring horizontal installation with side inlet/side outlet design. This series can quickly and easily replace other types of side inlet/side outlet steam traps in the pipeline, incorporating all the core advantages of inverted bucket steam traps.

The compact side inlet/side outlet design makes these traps highly efficient in various applications including tracer lines, drip legs, heating, and process applications. Available with threaded, socket weld, and flanged (carbon steel) connections to meet different installation requirements.

The inverted bucket trap's orifice is located at the top of the valve, providing superior dirt and rust handling capability compared to other trap types. However, in applications with heavy contamination, caution should be exercised when using models with smaller orifices that may affect capacity.

Key Features

  • Long service life and high reliability for demanding operating conditions
  • Excellent dirt handling capability for easy maintenance and reduced debris accumulation
  • Continuous air venting to effectively remove air from the system and prevent air binding
  • Flexible installation with horizontal mounting suitable for various piping layouts and three connection options
  • All stainless steel construction with excellent corrosion and high temperature resistance

Technical Specifications

Maximum Allowable Pressure (Shell)

ModelPressure-Temperature Rating
1810, 18112.8MPa @ 427°C
18224.5MPa @ 315°C; 4.3MPa @ 371°C; 4.16MPa @ 427°C

Maximum Operating Differential Pressure

ModelMax. Differential Pressure
18101.4MPa
18112.8MPa
18224.5MPa

Other Key Parameters

  • Maximum Capacity: 817kg/h
  • Installation: Horizontal
  • Flow Direction: Side Inlet/Side Outlet

Armstrong 1810 Inverted Bucket Steam Trap - Capacity ChartArmstrong 1811 Inverted Bucket Steam Trap - Capacity ChartArmstrong 1822 Inverted Bucket Steam Trap - Capacity Chart

Materials of Construction

ComponentMaterial
BodyASTM A240 Gr.304L Stainless Steel
Internals304 Stainless Steel
Valve & Seat17-4PH H900

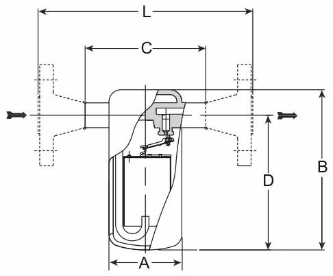
Dimensions and Weight

Dimensions (Unit: mm)

Armstrong 1810/1811/1822 1800 Series Inverted Bucket Steam Traps - Dimensions

Dimensions1810 (DN10)1810 (DN15)1811 (DN15)1811 (DN20)1822 (DN15)1822 (DN20)1822 (DN25)
A mm68686868999999
B mm135135160167218218218
C mm110110110110127127127
D mm113113138141187187181
L mm - HG20592 PN25 RF210
L mm - HG20592 PN40 RF210230
L mm - HG20592 PN63 RF210230230240260
L mm - ASME B16.5 CL300 RF200200204
L mm - ASME B16.5 CL600 RF229233243

Weight (Unit: kg)

Connection Type1810 (DN10)1810 (DN15)1811 (DN15)1811 (DN20)1822 (DN15)1822 (DN20)1822 (DN25)
Threaded/Socket Weld0.80.80.91.1333
Flanged (ASME B16.5)-2.62.73.94.85.86.6

Note: Weights are approximate. For non-ASME B16.5 flanged connections, please consult the supplier.

Optional Configurations

Freeze Protection Plug

  • Applicable Models: 1811, 1822
  • Order Code: Add "POP" after model number
  • Max. Pressure: 4.1MPa
  • Max. Temperature: 177°C

Insulation Jacket

Armstrong 1810/1811/1822 1800 Series Inverted Bucket Steam Traps - Insulation Jacket

  • Applicable Models: 1810, 1811
  • Order Code: Add "PK" after model number

Bottom Connection

Armstrong 1810/1811/1822 1800 Series Inverted Bucket Steam Traps - Bottom Connection

  • Applicable Models: 1811, 1822
  • Order Code: Add "PC" after model number

Ordering Information

Please specify the following when ordering:

  1. Model number (1810/1811/1822)
  2. Nominal size (DN)
  3. Orifice size
  4. Connection type and standard (Threaded/Socket Weld/Flange standard)
  5. Required optional configurations (Freeze Protection Plug/Insulation Jacket/Bottom Connection)