Skip to content
Baffle Type SeparationDuctile Iron MaterialPN16 DesignMultiple Sizes97/23/EC CompliantRecyclable

S1 Baffle Type Separator (Ductile Iron)

Spirax Sarco S1 Baffle Type Separator, manufactured from ductile iron, compliant with European Pressure Equipment Directive 97/23/EC. Designed to remove droplets from steam, compressed air or gas systems, optional insulating jacket improves performance, supports ½", ¾" and 1" BSP/NPT threaded connections, working pressure up to 13.8 bar g, working temperature range 0-200°C, easy installation and maintenance, recyclable with no ecological impact.

Spirax Sarco S1 Baffle Type Separator

Product Overview

Spirax Sarco S1 Baffle Type Separator, manufactured from ductile iron, is designed to remove droplets from steam, compressed air or gas systems, ensuring stable system operation. The product can be equipped with an insulating jacket to effectively improve separation performance, meeting high-efficiency separation requirements in industrial applications. This product complies with European Pressure Equipment Directive 97/23/EC, reliable quality, test reports available (certificate must be specified when ordering).

Technical Specifications

Pressure/Temperature Limits

Spirax Sarco S1 Baffle Type Separator - Pressure Temperature Operating Range

ParameterValue
Body DesignPN16
PMA Max. Allowable Pressure16 bar g @ 100°C
TMA Max. Allowable Temperature300°C @ 11 bar g
Min. Allowable Temperature0°C
PMO Max. Working Pressure13.8 bar g
TMO Max. Working Temperature200°C @ 13.8 bar g
Min. Working Temperature0°C
Design Max. Cold Hydraulic Test Pressure24 bar g

Note

Minimum allowable temperature is 0°C, consult Spirax Sarco for lower temperatures.

Sizes and Pipe Connections

  • Available Sizes: ½", ¾", 1"
  • Connection Types: BSP Threaded, NPT Threaded

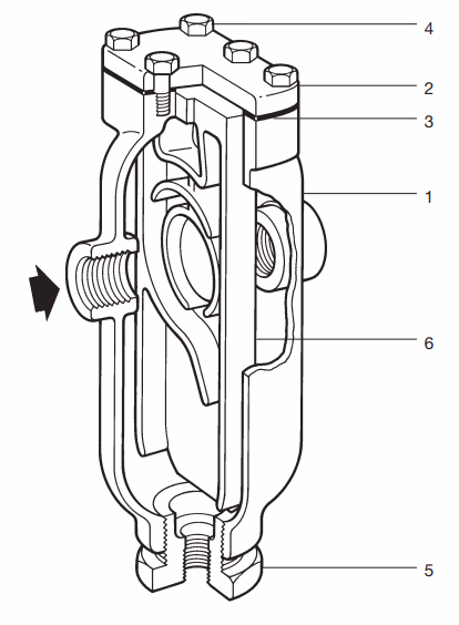
Product Structure

Spirax Sarco S1 Baffle Type Separator - Structure Diagram

Materials of Construction

No.PartSizeMaterialStandard
1Body-Ductile IronDIN 1693 Gr.GGG 40
2Cover-Ductile IronDIN 1693 Gr.GGG 40
3Gasket-Laminated Graphite-
4Bolts-SteelBS1768 Gr 5
5Bush½", ¾"Steel-
5Bush1"SteelASTM A105
6Baffle-Cast IronDIN 1691 Gr. GG20

Dimensions and Weights

Spirax Sarco S1 Baffle Type Separator - Dimension Drawing

Dimensions, Weights and Capacities (Approximate)

SizeABCDE (Drain)FWeightCapacity
½"1242258688½"1"2.7 kg0.53 L
¾"156260110113½"1½"4.2 kg1.13 L
1"222377143152½"2"8.1 kg3.15 L

Note

Dimensions in mm, weights and capacities are approximate values.

Installation and Maintenance

Installation Requirements

  1. Product must be installed on horizontal piping with drain outlet vertically downward
  2. To ensure rapid discharge of separated liquid, connect a suitable steam trap to the drain outlet (consult Spirax Sarco for selection)
  3. For detailed installation procedures, refer to the Installation and Maintenance Instructions (IM-P023-55) provided with the product

Note

Drain outlet must be connected to a steam trap to ensure timely discharge of separated liquid, otherwise separation performance will be affected.

Maintenance Instructions

For detailed maintenance procedures, refer to the Installation and Maintenance Instructions (IM-P023-55) provided with the product. Contact Spirax Sarco professional team for technical support.

Ordering Information

Ordering Example

1-¾" BSP Spirax Sarco S1 Separator, Ductile Iron Body

Ordering Notes

  1. When ordering, clearly specify product size and threaded connection type (BSP/NPT)
  2. If product certificate is required, it must be specified when ordering (test report provided by default)
  3. Product model must be fully specified, refer to the example above to ensure accurate order information

Disposal

This product can be recycled. Proper disposal according to standard procedures will not cause adverse environmental impact and meets environmental requirements.